Разработка методики расчета несущей способности скобовых соединений

Cover Page

Cite item

Full Text

Abstract

Обоснование. Нормативы проектирования, разработанные для типовых зданий, не соответствуют историческим конструкциям, в частности скобовым соединениям в памятниках архитектуры. Нормативы рассматривают скобы лишь как монтажные элементы, игнорируя их способность работать на сжатие/растяжение, что затрудняет реставрацию и усиление исторических зданий [1, 2].

Цель — разработать методику расчета несущей способности скобовых соединений.

Методы. Численный расчет устойчивости конструкции:

  • Проведение натуральных испытаний скобовых соединений различных конфигураций под действием статических нагрузок.
  • Создание на основе результатов экспериментальных исследований модели, описывающей работу скобового соединения под нагрузкой.
  • Сравнение результатов расчетов по разработанной методике с данными натуральных экспериментов.

Результаты. Скоба, обхватывающая соединяемые элементы, передает нагрузку через опору на эти элементы. Однако ключевая проблема заключается в том, что историческое применение скобовых соединений значительно выходит за рамки современного понимания их функциональности, что требует более глубокого исследования и пересмотра существующих нормативов [1].

Традиционные подходы к расчету часто оказываются недостаточно точными, не всегда учитывая особенности распределения напряжений в зоне контакта скобы с древесиной. Поэтому рассмотрим данное скобовое соединение (рис. 1).

 

Рис. 1. Скобовое соединение

 

При проведении натуральных испытаний (рис. 2) полученные результаты позволили сформулировать ключевое допущение: при нагрузках, вызывающих заметную деформацию древесины, изгибом защемленной части скобы можно пренебречь, считая ее геометрию приблизительно прямой.

 

Рис. 2. Скобовое соединение до испытания

 

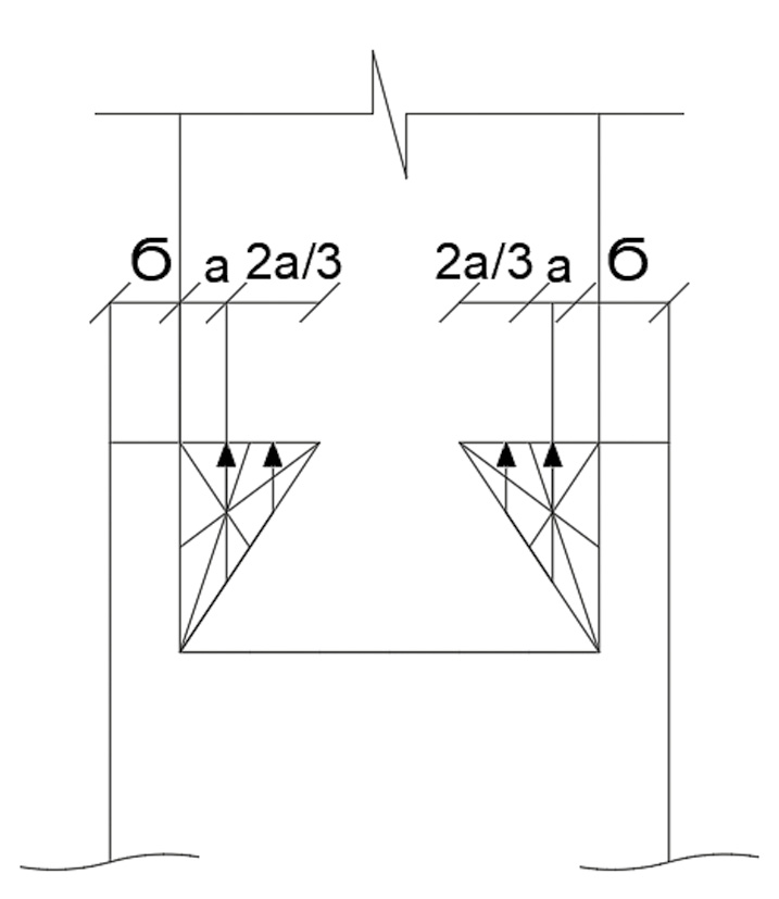
Это наблюдение, в сочетании с экспериментально установленным распределением смятия — нулевым на конце и максимальным на внешней поверхности древесины, — позволило предположить треугольное распределение деформаций в зоне контакта (рис. 3). На основе этого предположения была разработана аналитическая модель для расчета напряжений смятия, целью которой является получение точных расчетных формул, подтвержденных экспериментальными данными.

 

Рис. 3. Расчетная схема соединения

 

Методика основана на принципе равновесия сил и моментов.

Система является статически неопределимой, поэтому упрощенно выразим давление на древесину в виде равнодействующей и рассмотрим равновесие скобы под действием двух силовых факторов: нагрузки на саму скобу и отпора в материале древесины.

Исходя из равновесия моментов относительно точки опоры скобы на древесину, мы получаем уравнение:

Fl+δ=Pmaxl2·23 ·l=13 l2Pmax.

Из этого уравнения мы определяем максимальное давление смятия:

Pmax=Fl+δ13l2=3Fl+δl2.

Далее определяем среднее напряжение смятия в древесине под скобой (площадку равномерного распределения давлений учитываем приближенно по всей нижней цилиндрической площади скобы):

σ=Pmaxπd2=3Fl+δπdl2σсм.

Полученное напряжение смятия (σ) должно быть меньше или равно предельному расчетному сопротивлению древесины на смятие (σсм).

Подставив эти значения в представленные формулы, мы получим расчетное напряжение смятия. Если расчетное напряжение меньше или равно предельному сопротивлению древесины, соединение считается работоспособным. В противном случае необходимо изменить параметры скобы или использовать более прочный материал.

Выводы. Представленная методика позволяет оценивать несущую способность скобовых соединений в случае их работы в реальных системах на восприятие нагрузок.

Full Text

Обоснование. Нормативы проектирования, разработанные для типовых зданий, не соответствуют историческим конструкциям, в частности скобовым соединениям в памятниках архитектуры. Нормативы рассматривают скобы лишь как монтажные элементы, игнорируя их способность работать на сжатие/растяжение, что затрудняет реставрацию и усиление исторических зданий [1, 2].

Цель — разработать методику расчета несущей способности скобовых соединений.

Методы. Численный расчет устойчивости конструкции:

  • Проведение натуральных испытаний скобовых соединений различных конфигураций под действием статических нагрузок.
  • Создание на основе результатов экспериментальных исследований модели, описывающей работу скобового соединения под нагрузкой.
  • Сравнение результатов расчетов по разработанной методике с данными натуральных экспериментов.

Результаты. Скоба, обхватывающая соединяемые элементы, передает нагрузку через опору на эти элементы. Однако ключевая проблема заключается в том, что историческое применение скобовых соединений значительно выходит за рамки современного понимания их функциональности, что требует более глубокого исследования и пересмотра существующих нормативов [1].

Традиционные подходы к расчету часто оказываются недостаточно точными, не всегда учитывая особенности распределения напряжений в зоне контакта скобы с древесиной. Поэтому рассмотрим данное скобовое соединение (рис. 1).

 

Рис. 1. Скобовое соединение

 

При проведении натуральных испытаний (рис. 2) полученные результаты позволили сформулировать ключевое допущение: при нагрузках, вызывающих заметную деформацию древесины, изгибом защемленной части скобы можно пренебречь, считая ее геометрию приблизительно прямой.

 

Рис. 2. Скобовое соединение до испытания

 

Это наблюдение, в сочетании с экспериментально установленным распределением смятия — нулевым на конце и максимальным на внешней поверхности древесины, — позволило предположить треугольное распределение деформаций в зоне контакта (рис. 3). На основе этого предположения была разработана аналитическая модель для расчета напряжений смятия, целью которой является получение точных расчетных формул, подтвержденных экспериментальными данными.

 

Рис. 3. Расчетная схема соединения

 

Методика основана на принципе равновесия сил и моментов.

Система является статически неопределимой, поэтому упрощенно выразим давление на древесину в виде равнодействующей и рассмотрим равновесие скобы под действием двух силовых факторов: нагрузки на саму скобу и отпора в материале древесины.

Исходя из равновесия моментов относительно точки опоры скобы на древесину, мы получаем уравнение:

Fl+δ=Pmaxl2·23 ·l=13 l2Pmax.

Из этого уравнения мы определяем максимальное давление смятия:

Pmax=Fl+δ13l2=3Fl+δl2.

Далее определяем среднее напряжение смятия в древесине под скобой (площадку равномерного распределения давлений учитываем приближенно по всей нижней цилиндрической площади скобы):

σ=Pmaxπd2=3Fl+δπdl2σсм.

Полученное напряжение смятия (σ) должно быть меньше или равно предельному расчетному сопротивлению древесины на смятие (σсм).

Подставив эти значения в представленные формулы, мы получим расчетное напряжение смятия. Если расчетное напряжение меньше или равно предельному сопротивлению древесины, соединение считается работоспособным. В противном случае необходимо изменить параметры скобы или использовать более прочный материал.

Выводы. Представленная методика позволяет оценивать несущую способность скобовых соединений в случае их работы в реальных системах на восприятие нагрузок.

×

About the authors

Самарский государственный технический университет

Author for correspondence.
Email: ivs6700@mail.ru

студент, группа 23-ФПГС-108, факультет промышленного и гражданского строительства

Russian Federation, Самара

References

  1. СП 64.13330.2017 Деревянные конструкции. Актуализированная редакция СНиП II-25-80. Москва: Минстрой России, 2017.
  2. СП 516.1325800.2014 Дома деревянные жилые одноквартирные. Правила проектирования и строительства. Москва: ЗАО «ЦНИИЭП жилища», 2014.

Supplementary files

Supplementary Files
Action
1. JATS XML
2. Рис. 1. Скобовое соединение

Download (24KB)
3. Рис. 2. Скобовое соединение до испытания

Download (20KB)
4. Рис. 3. Расчетная схема соединения

Download (37KB)

Copyright (c) 2025 Ивашов В.С.

Creative Commons License
This work is licensed under a Creative Commons Attribution 4.0 International License.